В данной статье мы не будем рассматривать космические решения в автоиндустрии, «мирный атом» или хитроумные штуковины из фантастических фильмов. Речь пойдет о вполне земных и близких к физическому воплощению решениях, патенты на которые автопроизводители подавали в 2023 году. К слову, среди них есть и такие, что заставят содрогнуться даже постановщиков голливудских блокбастеров…

«Растущий» кузов
Тема с трансформацией автомобиля интересовала инженеров даже на заре развития индустрии: для машин делали и съемные кузова, и увеличенную крышу, и даже разные модульные платформы. Но всё это, как правило, работало в статике, когда автомобиль оказывался на стоянке с выключенным двигателем.

Уходя от футуризма в сторону практичности, компания Ford в целях коммерческого продвижения своих пикапов подала сразу два патента на увеличение их грузового пространства для перевозки более габаритных грузов.

Первый из них предполагает замену откидного заднего борта на распашные створки с интегрированными в них дополнительными секциями; они могут откидываться на 90°. При этом пол грузового отсека сделан раздвижным и располагает длинной секцией в задней части и несколькими секциями поменьше в передней (в обычном состоянии они сложены гармошкой). При необходимости всю эту конструкцию можно разложить, что позволит перевезти большее количество неделимых крупногабаритных предметов, например длинномеров.

Более сложный патент задействует всю заднюю часть кузова пикапа иначе: длинный пол выезжает из бортов по направляющим, причем вместе с задними фонарями и точками крепления заднего распашного борта. Чтобы сделать концепцию еще более практичной, в Ford предложили добавить в боковые борта отсеки для хранения.
К буксировке готов!
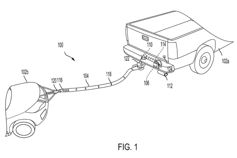
Данная технология, в общем-то, не нова и направлена скорее на то, чтобы сделать водителей еще менее автономными, чем они есть сейчас. Зачем, к примеру, возить с собой буксировочный трос и знать, как правильно организовать движение с автомобилем, терпящим бедствие, если ваша машина всё сделает за вас.

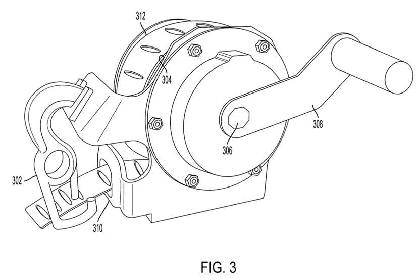
Тем не менее уже сейчас не все знают, как в этой ситуации нужно действовать, поэтому бренд Toyota заново запатентовал технологию применения лебедки. Суть проекта очень проста: барабан с тросом устанавливается в скрытом месте автомобиля, например, в нише для запасного колеса, чтобы его можно было легко извлечь при необходимости, закрепить на буксируемом автомобиле и транспортировать на тягово-сцепном устройстве буксира.

Как уверяют японцы, натяжение троса здесь перед началом буксировки обеспечивается не за счет движения буксира вперед до выбора свободной длины троса, а за счет храпового механизма, которым трос натягивается еще до начала движения.

Патентополучатели утверждают, что их изобретение будет полезным в условиях ограниченного пространства (что очень актуально для тесных улиц перенаселенных японских городов). Тем не менее время покажет, насколько данная технология соответствует условиям эксплуатации транспортных средств в ближайшем будущем.
Активная аэродинамика
Те, кто хотя бы раз смотрел фильм «Такси» или поздние части франшизы «Форсаж», воочию могли убедиться, что такое активная аэродинамика. Как ни странно, технологию выдвижных канардов (носовых закрылков) предложил не дорогой спортивный бренд, а транскорпорация Ford, которая в свое время вполне успешно конкурировала с Ferrari на гоночном треке.

Итак, канарды обычно размещаются на краях переднего бампера для перенаправления воздушных потоков и увеличения прижимной силы на передней и задней осях авто. Инженеры называют их еще dive planes (от англ. «подводное планирование»), что точнее передает суть их работы. При этом в Ford не понаслышке знают, что фиксированные канарды, как и любой другой элемент аэродинамики, эффективно работают в строго определенных условиях. Иными словами, нужны не всегда, а время от времени.

А когда они не нужны, их можно спрятать. Поэтому инженеры Ford предложили сделать их выдвижными. Когда эти элементы активны, например, при равномерном движении по прямой, они могут убрать лишнее сопротивление воздуха, сокращая тем самым расход топлива. Как это будет реализовано на практике, пока неизвестно, но идея вполне здравая и может впечатляюще выглядеть с точки зрения дизайна.
Запасная батарея
Патент под названием «Резервная батарея для электромобилей, устанавливаемая на крышу», принадлежащий все той же корпорации Ford, можно отнести к разряду еретических. Конечно, инженеры из кожи вон лезут, пытаясь повысить длительность автономного хода батарейных машин, но столь радикальное действие, как размещение дополнительного аккумулятора на крыше, может свести на нет все преимущества электрокара. На фото ниже приведен вполне безобидный вариант солнечной батареи, толку от которого в «боевых» условиях, кстати, немного. Но инженеры «голубого овала» предлагают более радикальное решение.

Суть его сводится к размещению на крыше обтекаемого бокса вроде дополнительного багажника, который будет испещрен отверстиями для лучшего охлаждения батареи. К нему же подведен зарядный кабель, чтобы менять АКБ, не снижая хода. Увы, как это будет применено на практике, не ясно, поскольку весит батарея электрокара немало, а значит, придется усиливать крышу. Кроме того, тяжелый аккумулятор повлияет на массу авто, снижая его динамические возможности.

Одним из главных преимуществ батарейной машины является низкий центр тяжести из-за соответствующего размещения аккумулятора. Разместив аналогичный вес на крыше, легко превратить автомобиль, даже такой брутальный, как Ford Bronco, изображенный на иллюстрации патента, в неваляшку. Всё это в совокупности уничтожает практичность идеи дополнительного источника питания. Тем не менее интересно будет понаблюдать за практическим применением данной идеи.