Так должно быть или нет?
Наверное, каждый автовладелец сталкивался с таким явлением, как запотевание фар в машине. Это обычный физический процесс, возникающий при определенных погодных условиях и присущий даже новым автомобилям.

Свой VW Polo Александр приобретал новым в автосалоне. По его словам, машина довольно комфортна и удобна, во всяком случае по соотношению цены и качества. Все бы ничего, если бы не некоторые нюансы, возникшие у авто через непродолжительное время после покупки.
Александр: «Я заметил, что в левой фаре автомобиля стала скапливаться вода. Про запотевание фар я знаю – это обычное явление, на предыдущей машине такое тоже было. Правда, в новом авто только про запотевание речи не шло – вода внутри фары собиралась обильными каплями и стекала к отражателям.

(Левая фара)
Стоит сразу отметить, что с правой фарой все было нормально: ни запотеваний, ни каких-либо капель.

(Левая и правая фары)
ВАЖНО:В соответствии с п.19 Приложения №4 ПДД внутри оптических элементов нахождение не предусмотренных конструкцией жидкостей не допускается. При их наличии участие транспортного средства в дорожном движении запрещено.
Собравшиеся в струйки капли воды – это уже не запотевание, а наличие жидкости (воды) в фаре, тут ни о каком допустимом физическом процессе речи быть не может. В подтверждение тому прилагаю снимки правой фары, с которой все нормально при одинаковых погодных условиях.
Вечером и ночью ездить на таком авто невозможно, поскольку пучок света левой фары из-за капель воды слишком рассеивается. Пришлось обратиться с претензией к дилеру за устранением недостатков, но ответ, мягко говоря, меня удивил».
Ответ дилера:
«Внимательно рассмотрев Ваше обращение, сообщаем следующее.
Прежде всего запотевание фар является конструктивной особенностью современных систем освещения, присущей фарам всех производителей, и не наносит вреда ни функциональности, ни сроку службы фар. Это не является признаком попадания воды как следствие какой-либо негерметичности. Благодаря используемым материалам возникновение коррозии невозможно. Потери части светового потока или слепящее действие также не возникает, поскольку после включения фары светопропускающая поверхность высыхает. Содержащаяся в воздухе влага оседает на холодных поверхностях. При включенных фарах образуется большое количество тепла, которое выводится через вентиляционные отверстия (открытая система). После выключения света фар она остывает, в результате этого возможно всасывание холодного и влажного воздуха через вентиляцию. Из-за этого в наиболее холодном месте фары (изнутри на стекле) образуется запотевание. Это является обычным физическим процессом. Физическое запотевание не является дефектом с точки зрения гарантии».
«А почему бы дилеру, который так тщательно описывает процессы, происходящие в левой фаре, одновременно с этим не написать, из-за чего такие процессы не происходят в правой фаре, которая по своей конструкции идентична левой? – спрашивает Александр. – Это даже не ответ, я считаю, а измышление какого-то одного конкретного человека. В принципе по закону об обращениях граждан ответ на заявление гражданина должен быть полным и аргументированным, желательно со ссылками на нормативно-правовые акты. В ответе ссылок на юридически значимые документы нет. Я решил написать дилеру еще одну претензию, изложив в ней свое неудовлетворение данным мне ответом и приложив видео, снятое на камеру смартфона».
Из повторной претензии:
«Отвечая на ваши доводы: где прописано, что производитель допускает запотевание фары? У меня 100% внутренней поверхности фары запотело, а другая фара не имеет нисколько процентов запотевания – как так получается? Автомобиль стоял возле дома, я на нем не передвигался как минимум 48 часов и в один вечер, выходя из дома, заметил, что фара вся запотевшая. Как и куда всасывается холодный воздух, если разница температур отсутствует? На видео четко видно, что это «запотевание» дошло до такого состояния, что в фаре конкретно скапливается вода, ее капли скатываются по внутренней поверхности фары. Кто мне даст гарантию, что на отражателе не пойдет эрозия, что фара не сломается или вообще машина не загорится? Просто слов недостаточно, сошлитесь на законодательные акты технического характера».
__
Норма или нет?
Ситуация, конечно, интересная. Если дилер считает такое положение вещей нормой, то эта норма должна быть применима к обеим фарам автомобиля. Только в «норме» справа воды нет, а в «норме» слева – есть. Это нормы разные или все-таки что-то не так с левой фарой? Еще на школьных уроках физики нам объясняли, что вода преломляет свет, а это значит, что левая фара не будет светить так, как рассчитано заводом-изготовителем.
Кроме того, вода – прекрасный проводник тока, что может вызвать замыкание электропроводки. А еще вода вызывает коррозию, и говорить о том, что (дословно) «… возникновение коррозии невозможно», полагаем, неуместно. Если это так, то впору было бы сослаться на какой-либо документ, который подтверждает такое утверждение дилера.
А теперь обратимся к Техническому регламенту Таможенного союза «О безопасности колесных транспортных средств» (ТР ТС 018/2011). Это основополагающий документ, которым следует руководствоваться применительно к определению технического состояния транспортного средства, и это закреплено в Законе РБ «О дорожном движении».
Статья 30 закона гласит: «Техническое состояние и конструкция транспортных средств, самоходных машин (за исключением колесных тракторов, прицепов к ним, самоходных машин, являющихся результатом индивидуального творчества), принадлежностей к ним и запасных частей, включая их экологическую безопасность,должны отвечать обязательным для соблюдения требованиям технических нормативных правовых актов, технических регламентов Таможенного союза, а также технических регламентов Евразийского экономического союза».
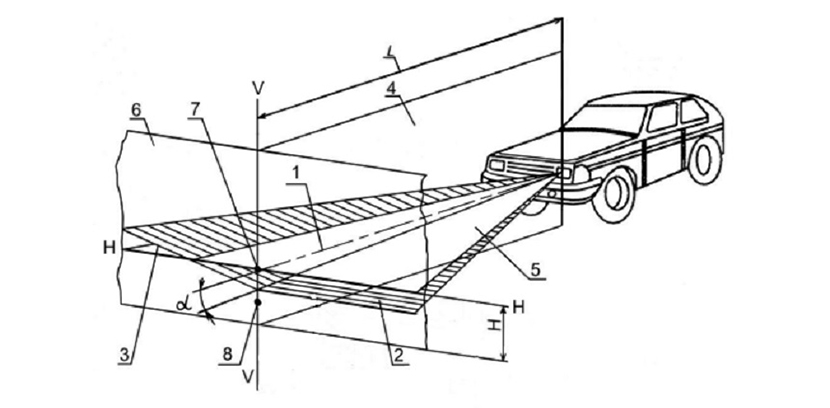
Так вот, данный документ говорит о том, что внешние световые приборы должны находиться в работоспособном состоянии, а световой пучок ближнего и дальнего света должен соответствовать четким критериям, как показано на схеме ниже:

Будет ли такой световой пучок справа и слева соответствовать установленным нормам при отсутствии воды в одной фаре и ее присутствии в другой? Мы не технические специалисты, но полагаем, что не будет, просто исходя из курса школьной программы по физике.
Поэтому рекомендуем Александру дождаться от дилера очередного ответа. И если ситуация не сдвинется с мертвой точки, то закон позволяет обратиться в суд с иском о защите прав потребителей. Подобные иски госпошлиной не облагаются.
А еще можно самостоятельно обратиться в экспертную организацию и провести экспертизу, которую затем к иску приложить. Как вариант – можно ходатайствовать о проведении такой экспертизы непосредственно при судебном разбирательстве, и тогда ее должен будет назначить суд, если сочтет подобную процедуру необходимой.